
Fra gli accessori per PlayStation 4 potrebbe esserci una periferica non ancora annunciata ma estremamente suggestiva, un visore per la realtà virtuale. La scoperta – da considerarsi nulla più che un rumor – è arrivata dall’utente gofreak di NeoGAF, il quale ha scovato due brevetti depositati dal colosso nipponico che lascerebbero pensare proprio alla realizzazione di un dispositivo RV.
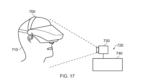
I brevetti, per entrare nel dettaglio, riguardano un innovativo sistema audio e un visore da indossare. Il visore dovrebbe essere dotato di stabilizzatore d’immagine e sensori per il rilevamento dei movimenti del capo, mentre il sensore audio dovrebbe includere funzioni per avvisare i giocatori in situazioni di “rischio”, come il passaggio di oggetti accanto alla testa.
Entrambi i patent sono riconducibili ad Ian Bickerstaff, un senior engineer di Sony Computer Entertainment Europe che lavora al WWS Stereoscopic Team, e Simon Benson, senior development manager di PlayStation Europe. Questo però non deve far pensare ad un’imminente realizzazione del device.
Per il momento non ci sono indizi che lascino pensare alla commercializzazione del visore per la realtà virtuale, e nelle poche occasioni in cui si è parlato dell’argomento Sony ha preferito glissare. Ad esempio, durante l’ultima Gamescom, parlando della produzione di dispositivi per la realtà aumentata, Shuehi Yoshida si congedò con un discreto “Di questo non parliamo”.
Per maggiori dettagli sui brevetti di Sony e i disegni che spiegano le caratteristiche di questo presunto visore per PlayStation 4, vi invitiamo a visitare la pagina di NeoGAF in cui si parla dell’argomento.
PS4 debutterà il 15 novembre negli Stati Uniti e il 29 novembre in Europa, ma questo ormai lo sappiamo tutti.
[via]